Skip to Content Facebook Feature Image

香港樓價急跌?西半山千呎豪宅僅售200萬 真相原來係……

香港樓價急跌?西半山千呎豪宅僅售200萬 真相原來係……

香港樓價急跌?西半山千呎豪宅僅售200萬 真相原來係……

2023年09月11日 11:30 最後更新:14:34

香港樓價急跌?網傳西半山過千呎豪宅大劈價,僅售275萬,不過真相令人大跌眼鏡!

有網民驚見西半山過千呎豪宅大劈價,僅售275萬。(「香港人點買樓」FB圖片)

有網民驚見西半山過千呎豪宅大劈價,僅售275萬。(「香港人點買樓」FB圖片)

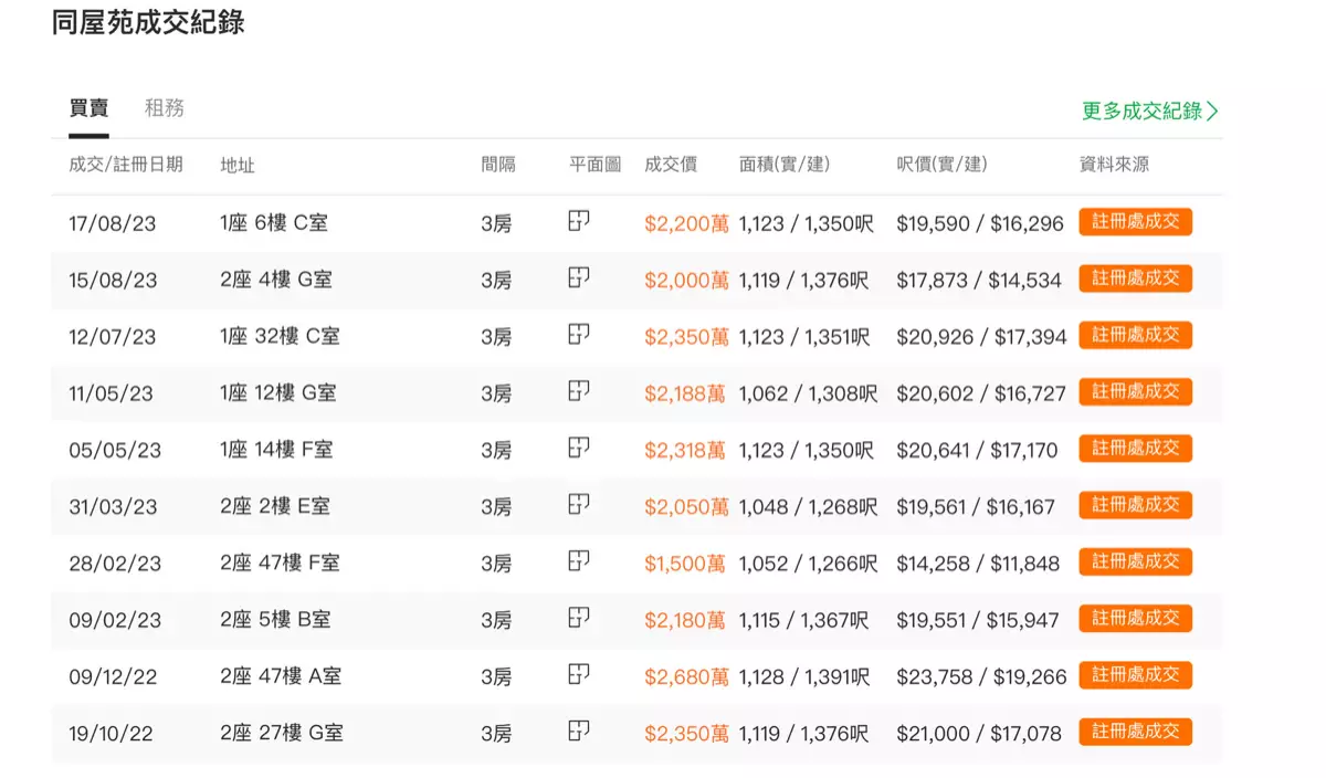
香港的房價一向以高昂著稱,很多人只能望樓興嘆。不過,最近有網民於Facebook群組「香港人點買樓」上載一張賣樓廣告,上面寫著「雍景臺(西半山羅便臣道70號)實用1,117呎 @ 24619,售價 275 萬,名牌屋苑、會所管理」。這個價格對於香港的房地產市場來說簡直是天方夜譚,事實上,根據網上行情,同屋苑類似單位的價格應該在2千萬元左右。

更多相片
有網民驚見西半山過千呎豪宅大劈價,僅售275萬。(「香港人點買樓」FB圖片)

有網民驚見西半山過千呎豪宅大劈價,僅售275萬。(「香港人點買樓」FB圖片)

根據網上行情,同屋苑類似單位的價格應該在2千萬元左右。(「香港置業」網頁截圖)

根據網上行情,同屋苑類似單位的價格應該在2千萬元左右。(「香港置業」網頁截圖)

香港的房價高企,很多人只能望樓興嘆,275萬可以買到千呎豪宅,令不少網民心動。(Getty示意圖)

香港的房價高企,很多人只能望樓興嘆,275萬可以買到千呎豪宅,令不少網民心動。(Getty示意圖)

原來只是一場誤會。(「香港人點買樓」FB圖片)

原來只是一場誤會。(「香港人點買樓」FB圖片)

根據網上行情,同屋苑類似單位的價格應該在2千萬元左右。(「香港置業」網頁截圖)

根據網上行情,同屋苑類似單位的價格應該在2千萬元左右。(「香港置業」網頁截圖)

此帖一出即引起網民熱議,不少網民表示難以置信「咪玩啦!」、「吹水!有冇咁平」、「點會?係咪首期咋」、「1000%假盤」、「二十年前都不能這價位啦」。有人則非常雀躍「借大耳窿都買」、「係我即買」、「嘩,唔洗供full pay」、「抵喎!」;有人質疑是凶宅「凶宅??大劈價!」、「係咪好猛架!欠一個零都未得啦!」。

香港的房價高企,很多人只能望樓興嘆,275萬可以買到千呎豪宅,令不少網民心動。(Getty示意圖)

香港的房價高企,很多人只能望樓興嘆,275萬可以買到千呎豪宅,令不少網民心動。(Getty示意圖)

不過有眼利網民現了問題所在。細心一看原來有人在售價的「275 萬」上面,用黑筆劃了幾下,然後再在下面補寫了「2750 萬」。原來誤會一場,成件事只是職員印錯售價,又懶得再印過一張而已。

原來只是一場誤會。(「香港人點買樓」FB圖片)

原來只是一場誤會。(「香港人點買樓」FB圖片)

帖文來源:Facebook群組「香港人點買樓」

一名港女近日在社交平台發文,指母親沉迷拼多多後自行裝修住所,大量改動屋內設計,成品效果令全家無語,引發網民熱議。

港媽沉迷拼多多自購材料DIY全屋裝修,獨特審美令家居面目全非。Threads 截圖

港媽沉迷拼多多自購材料DIY全屋裝修,獨特審美令家居面目全非。Threads 截圖

拼多多上腦 室內設計魂突然覺醒

港媽沉迷拼多多自購材料DIY全屋裝修。Threads 截圖

港媽沉迷拼多多自購材料DIY全屋裝修。Threads 截圖

事主表示,母親近月接觸內地電商平台「拼多多」後,開始頻繁購入各類室內設計用品,自稱靈感被全面激發,並決定親手改造住所,多項工程均未經專業評估或家人同意。

港媽沉迷拼多多自購材料DIY全屋裝修,獨特審美令家居面目全非。Threads 截圖

港媽沉迷拼多多自購材料DIY全屋裝修,獨特審美令家居面目全非。Threads 截圖

廁所成重災區 馬賽克油漆齊上陣

從事主上載的照片可見,廁所成為首個「實驗場地」,浴缸及牆身被塗上藍色潑墨風油漆,洗手盆檯面則以馬賽克逐粒黏貼完成。原有完好的半身鏡被更換為變形鏡,鏡面破損且成像失真,令使用者感到困擾。

港媽沉迷拼多多自購材料DIY全屋裝修,獨特審美令家居面目全非。Threads 網友評論截圖

港媽沉迷拼多多自購材料DIY全屋裝修,獨特審美令家居面目全非。Threads 網友評論截圖

港媽沉迷拼多多自購材料DIY全屋裝修,獨特審美令家居面目全非。Threads 截圖

港媽沉迷拼多多自購材料DIY全屋裝修,獨特審美令家居面目全非。Threads 截圖

港媽沉迷拼多多自購材料DIY全屋裝修,獨特審美令家居面目全非。Threads 截圖

港媽沉迷拼多多自購材料DIY全屋裝修,獨特審美令家居面目全非。Threads 截圖

港媽沉迷拼多多自購材料DIY全屋裝修,獨特審美令家居面目全非。Threads 截圖

港媽沉迷拼多多自購材料DIY全屋裝修,獨特審美令家居面目全非。Threads 截圖

裝修未停手 粉橙色大門正式登場

在廁所完成後,母親將目標轉向住所入口,自行為大門重新上漆,改成粉橙色外觀。事主直言家人多番勸阻無效,最終選擇放手,任由母親自由發揮。

港媽沉迷拼多多自購材料DIY全屋裝修,獨特審美令家居面目全非。Threads 網友評論截圖

港媽沉迷拼多多自購材料DIY全屋裝修,獨特審美令家居面目全非。Threads 網友評論截圖

港媽沉迷拼多多自購材料DIY全屋裝修,獨特審美令家居面目全非。Threads 網友評論截圖

港媽沉迷拼多多自購材料DIY全屋裝修,獨特審美令家居面目全非。Threads 網友評論截圖

港媽沉迷拼多多自購材料DIY全屋裝修,獨特審美令家居面目全非。Threads 網友評論截圖

港媽沉迷拼多多自購材料DIY全屋裝修,獨特審美令家居面目全非。Threads 網友評論截圖

網民反應兩極 回憶與健康成焦點

帖文引起大量討論,有人讚賞母親動手能力強,認為過程本身已成家庭回憶;亦有網民擔心裝修物料安全,質疑部分網購用品或涉及甲醛等健康風險。相關討論近日持續在社交平台 Threads 流傳。

港媽沉迷拼多多自購材料DIY全屋裝修,獨特審美令家居面目全非。AI生成示意圖

港媽沉迷拼多多自購材料DIY全屋裝修,獨特審美令家居面目全非。AI生成示意圖

你 或 有 興 趣 的 文 章